Products
Y-shaped Diverter Valve
  • Y-shaped Diverter ValveY-shaped Diverter Valve

Y-shaped Diverter Valve

GenTant is a leading manufacturer and supplier of Y-shaped Diverter Valves in China, with a strong focus on continuous product technology development and innovation. Our factory maintains high standards for raw material selection, ensuring durability and performance from the source. Strict requirements are applied throughout the production process, and each finished product undergoes comprehensive inspection before delivery. Through advanced manufacturing techniques and rigorous quality control, we provide reliable Y-shaped Diverter Valves that meet demanding industry standards and customer expectations worldwide.

Y-shaped Diverter Valves are important flow control components designed to direct, split, or combine fluid or gas flow within pipeline systems. With a Y-shaped structure, these valves enable smooth flow diversion while reducing turbulence and pressure loss, making them suitable for industrial processing, energy systems, and fluid distribution applications.


Product Feature and Application

Y-shaped Diverter Valves feature a unique angled body designed to split a single gas source into two separate branch lines with minimal turbulence. Their primary feature is the integrated flow diversion which eliminates the need for extra T-junction fittings, reducing potential leak paths. They are widely applied in dual-appliance connections, such as splitting a main gas line for both a furnace and a water heater in tight utility rooms.


Product Parameter

Technical Specification

Nominal Pressure: 1.6 MPa

Working Medium: Domestic Town Gas, Natural Gas, Liquefied Petroleum Gas (LPG)

Operating Temperature: -10 °C ≤ T ≤ 80 °C

Thread conforms to ISO 228 standard


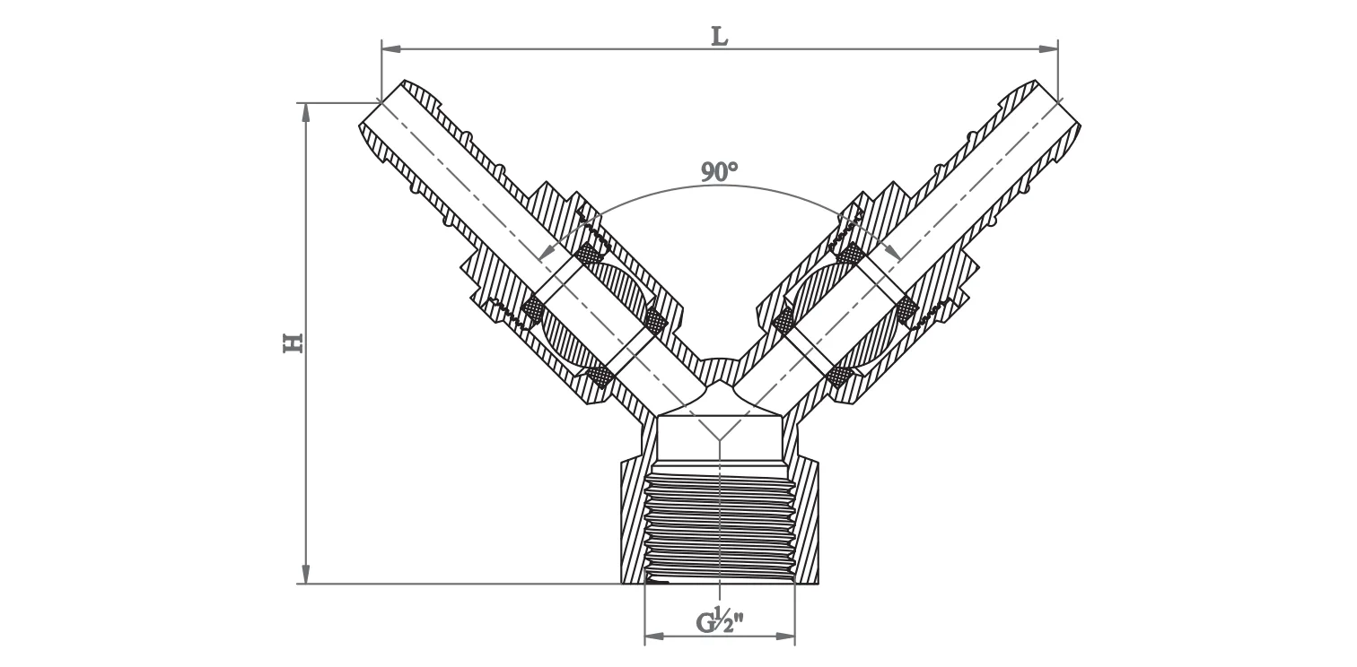
Product Dimension

Y-shaped Diverter Valve

DN

SIZE

L (mm)

H (mm)

WT (g)

15

1/2"

95

67

195.9


Installation Guidelines

Professional Installation: Y-shaped Diverter Valves must be installed by certified gas technicians. Ensure the gas supply is shut off and the work area is well-ventilated.


Thread Integrity: Use only gas-rated PTFE tape (typically yellow) or specialized pipe dope. Apply sealant to male threads only, ensuring no excess material enters the valve body to obstruct the seal.


Torque Management: Use a proper wrench on the valve end closest to the pipe. Do not over-tighten, as excessive force can crack the valve body or damage the internal seats, leading to hazardous leaks.


Leak Testing: After installation, never use a flame to check for leaks. Apply a certified leak-detection solution or soapy water to all joints; bubbles indicate a leak that must be corrected immediately.


Operating Instructions

Function: Y-shaped Diverter Valves are for on/off service only. They must remain in the fully open or fully closed position. Partial opening can cause seat erosion and seal failure.


Handle Position: The handle serves as a visual indicator. When the handle is parallel to the pipe, the valve is OPEN; when perpendicular, it is CLOSED.


Manual Operation: These valves are designed for manual operation. Do not use tools or "cheater bars" to turn the handle. If a valve is difficult to operate, it likely requires replacement.


Inspection & Maintenance

Periodic Checks: Inspect Y-shaped Diverter Valves at least twice a year for signs of corrosion, handle damage, or gas odors. Cycle the valve (Open/Close) periodically to ensure the ball does not seize.


No Disassembly: Due to critical safety tolerances, do not attempt to disassemble or repair the internal components of a gas valve. If the valve leaks or fails to shut off, replace the entire unit immediately.


Environment: Keep the Y-shaped Diverter Valve area free of corrosive chemicals or high-moisture accumulation, which can degrade the brass body or stem seals over time.


Emergency Protocol: In case of a gas leak, immediately close the upstream main valve, evacuate the area, and contact emergency services.



Hot Tags: China Y-shaped Diverter Valve Manufacturer, Supplier, Factory
Send Inquiry
Contact Info
If you have any enquiry about quotation or cooperation, please feel free to email us at zchen@gentantvalves.com or use the following inquiry form. Our sales representative will contact you within 24 hours. Thank you for your interest in our products.
X
We use cookies to offer you a better browsing experience, analyze site traffic and personalize content. By using this site, you agree to our use of cookies. Privacy Policy
Reject Accept